Porsche files patent for film that changes color and stripes
Auto
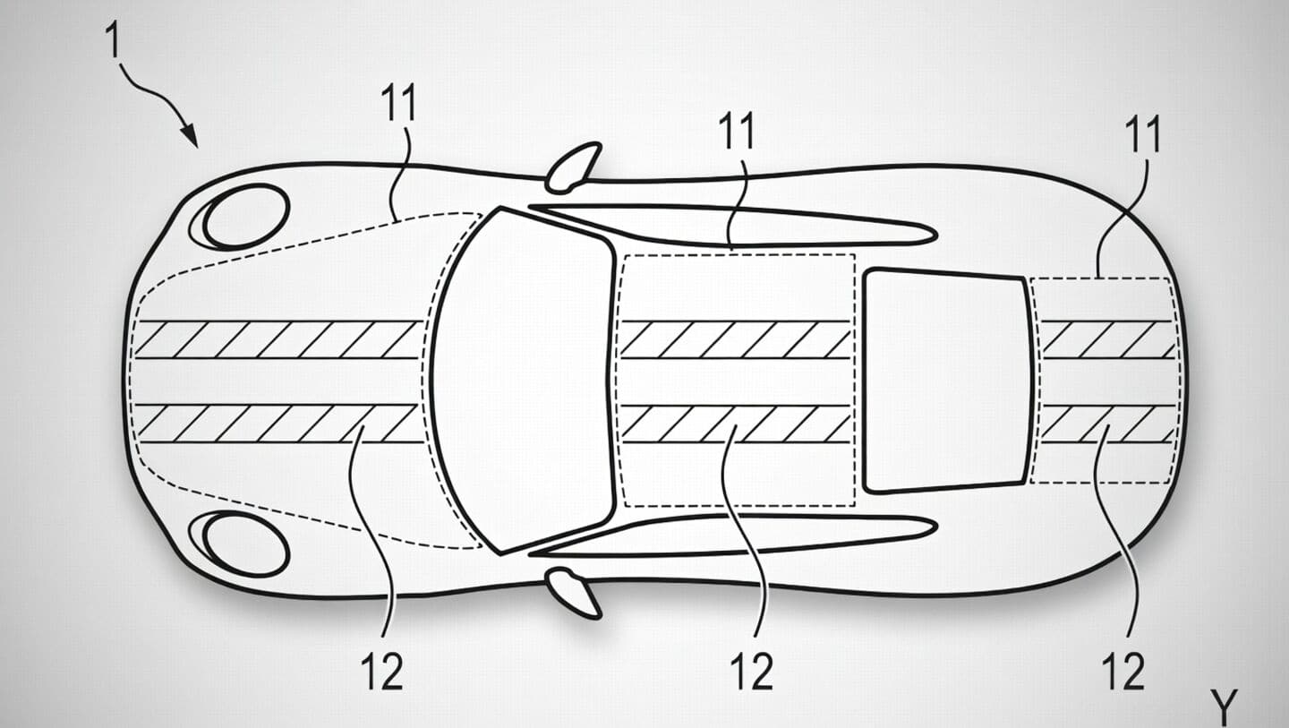
Porsche just filed a patent for a wild new film that lets your car change color with a quick zap of electricity, parts of the vehicle's exterior can shift shades or even show off racing stripes that match your driving mode, like green for eco and red for sport.
Porsche system combines visuals and information
This technology isn't just about style: it could go on electric cars to show battery charge right on the outside, or add cool effects behind the wheels and diffuser.
While similar electrochromic features exist, Porsche is taking it up a notch by mixing both eye-catching visuals and practical information into one smart system.